|
|
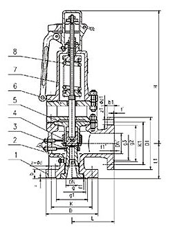
| 高溫高壓安全閥 |
| 產品型號:YFA48Y-16C/40I/64V/100V |
|
|
| 本閥門適用于工作溫度“C型”≤425℃;“I型”≤500℃;“V型”≤500℃;的蒸汽等介質設備或管路上,作為超壓保護裝置。連接法蘭標準按JB/T……94系列1、系列2。 |
主要零部件材料:
|
NO.
|
零件名稱
|
C型材料
|
I型材料
|
V型材料
|
|
1
|
閥體
|
WCB
|
ZG1Cr5Mo
|
ZG15Cr1Mo1V
|
|
2
|
閥座
|
2Cr13
|
1Cr18Ni9Ti
|
12Cr1MoVA
|
|
3
|
調節圈
|
2Cr13
|
1Cr18Ni9Ti
|
1Cr18Ni9Ti
|
|
4
|
閥瓣
|
2Cr13
|
17-4PH
|
17-7PH
|
|
5
|
導向套
|
2Cr13
|
1Cr18Ni9Ti
|
1Cr18Ni9Ti
|
|
6
|
散熱器
|
ZG230-450
|
ZG230-450
|
ZG230-450
|
|
7
|
閥蓋
|
ZG230-450
|
ZG230-450
|
ZG230-450
|
|
8
|
彈簧
|
50CrVA
|
50CrVA
|
50CrVA
|
|
外形尺寸和連接尺寸:
|
型號
|
公稱
通徑
|
do
|
D
|
K
|
g
|
g1
|
b
|
f
|
f1
|
Z-ød
|
DN'
|
D1
|
K1
|
g3
|
g2
|
b1
|
f'
|
f1'
|
z1-ød1
|
L
|
L1
|
≈H
|
|
YFA48Y-16C
YFA48Y-16I
YFA48Y-16V
|
40
|
25
|
150
|
110
|
|
85
|
18
|
3
|
|
4-18
|
50
|
165
|
125
|
|
100
|
20
|
3
|
|
4-18
|
120
|
115
|
540
|
|
50
|
32
|
165
|
125
|
|
100
|
20
|
3
|
|
4-18
|
65
|
185
|
145
|
|
120
|
20
|
3
|
|
4-18
|
135
|
120
|
618
|
|
65
|
40
|
185
|
145
|
|
120
|
20
|
3
|
|
4-18
|
80
|
200
|
160
|
|
135
|
20
|
3
|
|
8-18
|
160
|
140
|
710
|
|
80
|
50
|
200
|
160
|
|
135
|
20
|
3
|
|
8-18
|
100
|
220
|
180
|
|
155
|
22
|
3
|
|
8-18
|
160
|
150
|
730
|
|
100
|
65
|
220
|
180
|
|
155
|
20
|
3
|
|
8-18
|
150
|
285
|
240
|
|
210
|
24
|
3
|
|
8-23
|
225
|
175
|
892
|
|
150
|
100
|
285
|
240
|
|
210
|
24
|
3
|
|
8-23
|
200
|
340
|
295
|
|
265
|
26
|
3
|
|
12-23
|
240
|
235
|
1135
|
|
200
|
125
|
340
|
295
|
|
265
|
26
|
3
|
|
12-23
|
250
|
405
|
355
|
|
320
|
30
|
3
|
|
12-26
|
290
|
210
|
1135
|
|
YFA48Y-40
YFA48Y-40I
YFA48Y-40V
|
25
|
16
|
115
|
85
|
58
|
65
|
16
|
2
|
4
|
4-14
|
32
|
140
|
100
|
|
78
|
18
|
2
|
|
4-18
|
110
|
95
|
429
|
|
32
|
20
|
140
|
100
|
66
|
78
|
18
|
2
|
4
|
4-18
|
40
|
150
|
110
|
|
85
|
18
|
3
|
|
4-18
|
115
|
100
|
421
|
|
40
|
25
|
150
|
110
|
76
|
85
|
18
|
3
|
4
|
4-18
|
50
|
165
|
125
|
|
100
|
20
|
3
|
|
4-18
|
120
|
115
|
540
|
|
50
|
32
|
165
|
125
|
88
|
100
|
20
|
3
|
4
|
4-18
|
65
|
185
|
145
|
|
120
|
20
|
3
|
|
4-18
|
135
|
120
|
618
|
|
65
|
40
|
185
|
145
|
110
|
120
|
22
|
3
|
4
|
8-18
|
80
|
200
|
160
|
|
135
|
20
|
3
|
|
8-18
|
160
|
140
|
710
|
|
80
|
50
|
200
|
160
|
121
|
135
|
22
|
3
|
4
|
8-18
|
100
|
220
|
180
|
|
155
|
22
|
3
|
|
8-18
|
160
|
150
|
730
|
|
100
|
65
|
235
|
190
|
150
|
160
|
24
|
3
|
4.5
|
8-23
|
150
|
285
|
240
|
|
210
|
24
|
3
|
|
8-23
|
225
|
175
|
892
|
|
150
|
100
|
300
|
250
|
204
|
218
|
30
|
3
|
4.5
|
8-26
|
200
|
340
|
295
|
|
265
|
26
|
3
|
|
12-23
|
240
|
235
|
1135
|
|
200
|
125
|
375
|
320
|
260
|
282
|
38
|
3
|
4.5
|
12-30
|
250
|
405
|
355
|
|
320
|
30
|
3
|
|
12-26
|
290
|
310
|
1135
|
|
YFA48Y-64
YFA48SB-64
YFA48Y-64I
YFA48SB-64I
YFA48Y-64V
YFA48SB-64V
|
25
|
16
|
140
|
100
|
58
|
78
|
22
|
2
|
4
|
4-18
|
32
|
140
|
100
|
66
|
78
|
18
|
2
|
4
|
4-18
|
110
|
100
|
429
|
|
32
|
20
|
155
|
110
|
66
|
82
|
24
|
2
|
4
|
4-23
|
40
|
150
|
110
|
76
|
85
|
18
|
3
|
4
|
4-18
|
130
|
110
|
421
|
|
40
|
25
|
170
|
125
|
76
|
95
|
24
|
3
|
4
|
4-23
|
50
|
165
|
125
|
88
|
100
|
20
|
3
|
4
|
4-18
|
135
|
120
|
540
|
|
50
|
32
|
180
|
135
|
88
|
105
|
26
|
3
|
4
|
4-23
|
65
|
185
|
145
|
110
|
120
|
22
|
3
|
4
|
8-18
|
160
|
130
|
618
|
|
50
|
32
|
180
|
135
|
88
|
105
|
26
|
3
|
4
|
4-23
|
80
|
200
|
160
|
121
|
135
|
22
|
3
|
4
|
8-18
|
160
|
145
|
710
|
|
65
|
40
|
205
|
160
|
110
|
130
|
28
|
3
|
4
|
8-23
|
80
|
200
|
160
|
121
|
135
|
22
|
3
|
4
|
8-18
|
175
|
160
|
710
|
|
80
|
50
|
215
|
170
|
121
|
140
|
30
|
3
|
4
|
8-23
|
100
|
235
|
190
|
150
|
160
|
24
|
3
|
4.5
|
8-23
|
175
|
160
|
730
|
|
100
|
65
|
250
|
200
|
150
|
168
|
32
|
3
|
4.5
|
8-26
|
125
|
270
|
220
|
176
|
188
|
28
|
3
|
4.5
|
8-25
|
220
|
200
|
800
|
|
100
|
65
|
250
|
200
|
150
|
168
|
32
|
3
|
4.5
|
8-26
|
150
|
300
|
250
|
204
|
218
|
30
|
3
|
4.5
|
8-26
|
220
|
200
|
892
|
|
150
|
100
|
345
|
280
|
204
|
240
|
38
|
3
|
4.5
|
8-34
|
200
|
375
|
320
|
260
|
282
|
38
|
3
|
4.5
|
12-30
|
280
|
280
|
1135
|
|
200
|
125
|
405
|
345
|
260
|
300
|
44
|
3
|
4.5
|
12-36
|
250
|
450
|
385
|
313
|
345
|
42
|
3
|
4.5
|
12-34
|
300
|
295
|
1135
|
|
YFA48Y-100
YFA48SB-100
YFA48Y-100I
YFA48SH-100I
YFA48Y-100V
YFA48SB-100V
|
25
|
16
|
140
|
100
|
58
|
78
|
24
|
2
|
4
|
4-18
|
32
|
140
|
100
|
66
|
78
|
18
|
2
|
4
|
4-18
|
110
|
100
|
429
|
|
32
|
20
|
155
|
110
|
66
|
82
|
24
|
2
|
4
|
4-23
|
40
|
150
|
110
|
76
|
85
|
18
|
3
|
4
|
4-18
|
130
|
110
|
421
|
|
40
|
25
|
170
|
125
|
76
|
95
|
26
|
3
|
4
|
4-23
|
50
|
165
|
125
|
88
|
100
|
20
|
3
|
4
|
4-18
|
135
|
120
|
540
|
|
50
|
32
|
195
|
145
|
88
|
112
|
28
|
3
|
4
|
4-26
|
65
|
185
|
145
|
110
|
120
|
22
|
3
|
4
|
8-18
|
160
|
130
|
618
|
|
50
|
32
|
195
|
145
|
88
|
112
|
28
|
3
|
4
|
4-26
|
80
|
200
|
160
|
121
|
135
|
22
|
3
|
4
|
8-18
|
160
|
145
|
710
|
|
65
|
32
|
220
|
170
|
110
|
138
|
32
|
3
|
4
|
8-26
|
80
|
200
|
160
|
121
|
135
|
22
|
3
|
4
|
8-18
|
175
|
160
|
710
|
|
80
|
40
|
230
|
180
|
121
|
148
|
34
|
3
|
4
|
8-26
|
100
|
235
|
190
|
150
|
160
|
24
|
3
|
4.5
|
8-23
|
175
|
160
|
730
|
|
100
|
50
|
265
|
210
|
150
|
172
|
38
|
3
|
4.5
|
8-30
|
125
|
270
|
220
|
176
|
188
|
28
|
3
|
4.5
|
8-25
|
220
|
200
|
800
|
|
100
|
50
|
265
|
210
|
150
|
172
|
38
|
3
|
4.5
|
8-30
|
150
|
300
|
250
|
204
|
218
|
30
|
3
|
4.5
|
8-26
|
220
|
200
|
892
|
|
150
|
80
|
355
|
290
|
204
|
250
|
46
|
3
|
4.5
|
12-34
|
200
|
375
|
320
|
260
|
282
|
38
|
3
|
4.5
|
12-30
|
280
|
280
|
1135
|
|
200
|
125
|
430
|
360
|
260
|
312
|
54
|
3
|
4.5
|
12-36
|
250
|
450
|
385
|
313
|
345
|
42
|
3
|
4.5
|
12-34
|
300
|
295
|
1135
|
|
YFA48SH-40
|
50
|
32
|
160
|
125
|
88
|
105
|
38
|
3
|
4
|
4-18
|
80
|
195
|
160
|
/
|
135
|
20
|
3
|
/
|
8-18
|
124
|
137
|
525
|
|
YA48TH-100
|
50
|
32
|
195
|
145
|
88
|
112
|
50
|
3
|
4
|
4-26
|
80
|
200
|
160
|
121
|
135
|
22
|
3
|
4.5
|
8-18
|
160
|
145
|
580
|
|
YFA48SB-160
|
80
|
40
|
260
|
205
|
121
|
168
|
65
|
15
|
4
|
8-30
|
150
|
300
|
250
|
204
|
218
|
30
|
3
|
4.5
|
8-25
|
215
|
210
|
1175
|
注:YA48TH-100 DN50不帶散熱器。 |
|