|
|
|
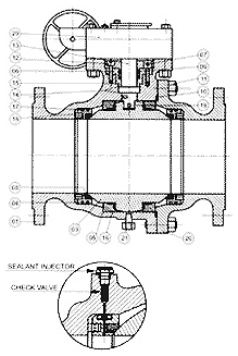
| Class 900 Two-Piece Trunnion Mounted Ball Valve 球 閥 |
| 產品類別:美標閥系列 |
|
|
技術要求:
設計和制造:ANSI B16.34、API 608、API 6D、BS 5351
結構長度:ANSI B16.10、API 6D
法蘭連接:ANSI B16.5
防火要求:API 607、API 6FA
試驗和驗收:API 598、API 6D |
|
材料
|
|
|
零件名稱
|
材料
|
|
21
|
泄放閥
|
Carbon Steel/Stainless Steel
|
|
20
|
蝸輪驅動裝置
|
Manufacturer's Standard
|
|
19
|
防靜電裝置
|
Stainless Steel
|
|
18
|
彈簧
|
17-7PH/inconel
|
|
17
|
O形圈
|
Viton
|
|
16
|
球體支撐座
|
Carbon Steel/SS
|
|
15
|
墊片
|
PTFE/NYLON
|
|
14
|
止推墊片
|
PTFE/NYLON
|
|
13
|
閥桿
|
CS+Plated/Stainless Steel
|
|
|
零件名稱
|
WCB
|
LCB
|
WC6
|
WC9
|
|
12
|
螺母
|
A193 Gr B7
|
A320 Gr L7
|
A193 Gr B7
|
A193 Gr B16
|
|
11
|
螺栓螺母
|
A193 Gr B7/A194 Gr 2H
|
A320 Gr L7/A194 Gr4
|
A193 Gr B16/A194 Gr 4/7
|
A193 Gr B16/A194 Gr 4
|
|
10
|
墊片
|
PTFE/SPIRAL WOUND
|
PTFE/SPIRAL WOUND
|
PTFE/SPIRAL WOUND
|
PTFE/SPIRAL WOUND
|
|
09
|
填料
|
PTFE/Graphite
|
Graphite/PTFE
|
Graphite/PTFE
|
Graphite/PTFE
|
|
08
|
球座
|
PTFE/RPTFE
|
PTFE/RPTFE
|
PTFE/RPTFE
|
PTFE/RPTFE
|
|
07
|
密封壓蓋
|
A216 Gr WCB
|
A352 Gr LCB
|
A217 Gr WC9
|
A217 Gr WC9
|
|
06
|
填料壓蓋
|
A216 Gr WCB
|
A352 Gr LCB
|
A217 Gr WC9
|
A217 Gr WC9
|
|
05
|
球支撐座
|
A216 Gr WCB
|
A352 Gr LCB
|
A217 Gr WC9
|
A217 Gr WC9
|
|
04
|
閥座
|
A216 Gr WCB
|
A352 Gr LCB
|
A217 Gr WC9
|
A217 Gr WC9
|
|
03
|
球體
|
A216 Gr WCB
|
A352 Gr LCB
|
A217 Gr WC9
|
A217 Gr WC9
|
|
02
|
右閥體
|
A216 Gr WCB
|
A352 Gr LCB
|
A217 Gr WC9
|
A217 Gr WC9
|
|
01
|
左閥體
|
A216 Gr WCB
|
A352 Gr LCB
|
A217 Gr WC9
|
A217 Gr WC9
|
|
|
零件名稱
|
C5
|
C12
|
CF8
|
CF8M
|
|
12
|
螺母
|
A193 Gr B7
|
A320 Gr L7
|
A193 Gr B8
|
A193 Gr B8
|
|
11
|
螺栓螺母
|
A193 Gr B16/A194 Gr 4/7
|
A193 Gr B16/A194 Gr 4/7
|
A193 B8/A194 8
|
A193 B8M/A194 B8
|
|
10
|
墊片
|
PTFE/SPIRAL WOUND
|
PTFE/SPIRAL WOUND
|
PTFE/SPIRAL WOUND
|
PTFE/SPIRAL WOUND
|
|
09
|
填料
|
GRAFOIL
|
GRAFOIL
|
GRAFOIL
|
GRAFOIL
|
|
08
|
球座
|
PTFE/RPTFE
|
PTFE/RPTFE
|
PTFE/RPTFE
|
PTFE/RPTFE
|
|
07
|
密封壓蓋
|
A217 Gr C5
|
A217 Gr C12
|
A351 Gr CF8
|
A351 Gr CF8M
|
|
06
|
填料壓蓋
|
A217 Gr C5
|
A217 Gr C12
|
A351 Gr CF8
|
A351 Gr CF8M
|
|
05
|
球支撐座
|
A217 Gr C5
|
A217 Gr C12
|
A351 Gr CF8
|
A351 Gr CF8M
|
|
04
|
閥座
|
A217 Gr C5
|
A217 Gr C12
|
A351 Gr CF8
|
A351 Gr CF8M
|
|
03
|
球體
|
A217 Gr C5
|
A217 Gr C12
|
A351 Gr CF8
|
A351 Gr CF8M
|
|
02
|
右閥體
|
A217 Gr C5
|
A217 Gr C12
|
A351 Gr CF8
|
A351 Gr CF8M
|
|
01
|
左閥體
|
A217 Gr C5
|
A217 Gr C12
|
A351 Gr CF8
|
A351 Gr CF8M
|
|
Class 900
|
|
Size
|
inch
|
2
|
21/2
|
3
|
4
|
6
|
8
|
10
|
12
|
14
|
16
|
18
|
20
|
|
L,L1-RF、BW
|
mm
|
368
|
419
|
381
|
457
|
610
|
737
|
838
|
965
|
1029
|
1130
|
1219
|
1321
|
|
L2-RTJ
|
mm
|
371
|
422
|
384
|
4600
|
613
|
740
|
841
|
968
|
1038
|
1140
|
1232
|
1334
|
|
B
|
mm
|
51
|
64
|
76
|
102
|
152
|
203
|
254
|
305
|
324
|
375
|
425
|
473
|
|
H
|
mm
|
210
|
250
|
285
|
280
|
360
|
455
|
510
|
525
|
595
|
650
|
685
|
695
|
|
K
|
mm
|
250
|
300
|
300
|
400
|
400
|
600
|
600
|
600
|
750
|
750
|
750
|
800
|
|
Wt.(approx)
|
kg
|
45
|
50
|
72
|
130
|
235
|
495
|
690
|
1050
|
1350
|
1750
|
2300
|
2850
|
|
|
|
|