|
|
|
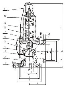
| 彈簧全啟封閉式安全閥 |
| 產品類別: 安全閥系列 |
|
|
產品詳細資料: A42Y-C型適用于工作溫度≤300℃空氣、石油氣、液體等介質的設備和管路上。A42Y-P型及A42Y-R型適用于工作溫度≤200℃有腐蝕性的介質的設備和管路上,作為超壓保護裝置。
連接法蘭標準按JB/T……-94系列1。≥6.4MPa按JB/T……-94系列2。
|
|
主要零部件材料
NO. |
零件名稱 |
A42Y-C/KA42Y-C材料 |
A42Y-P/KA42Y-P材料 |
A42Y-R材料 |
DA42Y-P材料 |
1 |
閥座 |
2Cr13/1Cr18Ni9Ti |
ZG1Cr18Ni9Ti |
ZG1Cr18Ni12Mo2Ti |
ZG1Cr18Ni9Ti |
2 |
閥體 |
WCB |
ZG1Cr18Ni9Ti |
ZG1Cr18Ni12Mo2Ti |
LCB/ZG1Cr18Ni9Ti |
3 |
調節圈 |
2Cr13/1Cr18Ni9Ti |
1Cr18Ni9Ti |
1Cr18Ni12Mo2Ti |
1Cr18Ni9Ti |
4 |
反沖盤 |
2Cr13/1Cr18Ni9Ti |
1Cr18Ni9Ti |
1Cr18Ni12Mo2Ti |
1Cr18Ni9Ti |
5 |
閥瓣 |
2Cr13/1Cr18Ni9Ti |
1Cr18Ni9Ti |
1Cr18Ni12Mo2Ti |
1Cr18Ni9Ti |
6 |
導向套 |
2Cr13/1Cr18Ni9Ti |
1Cr18Ni9Ti |
1Cr18Ni12Mo2Ti |
1Cr18Ni9Ti |
7 |
閥蓋 |
ZG230-450 |
ZG230-450 |
ZG230-450 |
ZG1Cr18Ni9Ti |
8 |
彈簧 |
50CrVA |
50CrVA包覆氟塑料 |
50CrVA包覆氟塑料 |
50CrVA |
9 |
閥桿 |
2Cr13 |
1Cr18Ni9Ti/1Cr18Ni12Mo2Ti |
1Cr18Ni9Ti/1Cr18Ni12Mo2Ti |
1Cr18Ni9Ti |
10 |
調整螺桿 |
45 |
2Cr13 |
2Cr13 |
2Cr13 |
11 |
閥帽 |
ZG200-400 |
ZG200-400 |
ZG200-400 |
ZG230-450 |
|
密封面材料 |
堆焊Co基硬質合金 |
外形尺寸和連接尺寸
型號 |
公稱通徑 |
do |
D |
K |
g |
g1 |
b |
f |
f1 |
Z-ød |
DN' |
D1 |
K1 |
g3 |
g2 |
b1 |
f' |
f1' |
Z1-ød1 |
L |
L1 |
≈H |
A42Y-16C
A42Y-16P
A42Y-16R
KA42Y-16C DA42Y-16C(P) |
20 |
15 |
105 |
75 |
|
55 |
16 |
2 |
|
4-14 |
25 |
115 |
85 |
|
65 |
16 |
2 |
|
4-14 |
110 |
95 |
378 |
25 |
16 |
115 |
85 |
|
65 |
16 |
2 |
|
4-14 |
32 |
140 |
100 |
|
78 |
18 |
2 |
|
4-18 |
110 |
95 |
378 |
32 |
20 |
140 |
100 |
|
78 |
18 |
2 |
|
4-18 |
40 |
150 |
110 |
|
85 |
18 |
3 |
|
4-18 |
115 |
100 |
378 |
40 |
25 |
150 |
110 |
|
85 |
18 |
3 |
|
4-18 |
50 |
165 |
125 |
|
100 |
20 |
3 |
|
4-18 |
120 |
110 |
406 |
50 |
32 |
165 |
125 |
|
100 |
20 |
3 |
|
4-18 |
65 |
185 |
145 |
|
120 |
20 |
3 |
|
4-18 |
135 |
120 |
450 |
65 |
40 |
185 |
145 |
|
120 |
20 |
3 |
|
4-18 |
80 |
200 |
160 |
|
135 |
20 |
3 |
|
8-18 |
160 |
140 |
520 |
80 |
50 |
200 |
160 |
|
135 |
20 |
3 |
|
8-18 |
100 |
220 |
180 |
|
155 |
22 |
3 |
|
8-18 |
170 |
135 |
525 |
100 |
65 |
220 |
180 |
|
155 |
22 |
3 |
|
8-18 |
125 |
250 |
210 |
|
185 |
22 |
3 |
|
8-18 |
195 |
175 |
690 |
125 |
80 |
250 |
210 |
|
185 |
22 |
3 |
|
8-18 |
150 |
285 |
240 |
|
210 |
24 |
3 |
|
8-23 |
210 |
190 |
780 |
150 |
100 |
285 |
240 |
|
210 |
24 |
3 |
|
8-23 |
175 |
310 |
270 |
|
240 |
26 |
3 |
|
8-23 |
255 |
230 |
838 |
200 |
125 |
340 |
295 |
|
265 |
26 |
3 |
|
12-23 |
250 |
405 |
355 |
|
320 |
30 |
3 |
|
12-26 |
300 |
260 |
992 |
250 |
150 |
405 |
355 |
|
320 |
30 |
3 |
|
12-26 |
300 |
460 |
410 |
|
375 |
30 |
4 |
|
12-26 |
350 |
320 |
1266 |
300 |
220 |
460 |
410 |
|
375 |
30 |
4 |
|
12-26 |
400 |
580 |
525 |
|
485 |
36 |
4 |
|
16-30 |
370 |
350 |
1283 |
350 |
250 |
520 |
470 |
|
435 |
34 |
4 |
|
16-26 |
500 |
715 |
650 |
|
608 |
44 |
4 |
|
20-34 |
500 |
450 |
1520 |
400 |
280 |
580 |
525 |
|
485 |
36 |
4 |
|
16-30 |
500 |
715 |
650 |
|
608 |
44 |
4 |
|
20-34 |
500 |
450 |
1530 |
A42Y-25C
A42Y-25P
A42Y-25R
KA42Y-25C DA42Y-25(P) |
20 |
15 |
105 |
75 |
|
55 |
16 |
2 |
|
4-14 |
25 |
115 |
85 |
|
65 |
16 |
2 |
|
4-14 |
110 |
95 |
378 |
25 |
16 |
115 |
85 |
|
65 |
16 |
2 |
|
4-14 |
32 |
140 |
100 |
|
78 |
18 |
2 |
|
4-18 |
110 |
95 |
378 |
32 |
20 |
140 |
100 |
|
78 |
18 |
2 |
|
4-18 |
40 |
150 |
110 |
|
85 |
18 |
3 |
|
4-18 |
115 |
100 |
378 |
40 |
25 |
150 |
110 |
|
85 |
18 |
3 |
|
4-18 |
50 |
165 |
125 |
|
100 |
20 |
3 |
|
4-18 |
120 |
110 |
406 |
50 |
32 |
165 |
125 |
|
100 |
20 |
3 |
|
4-18 |
65 |
185 |
145 |
|
120 |
20 |
3 |
|
4-18 |
135 |
120 |
450 |
65 |
40 |
185 |
145 |
|
120 |
22 |
3 |
|
8-18 |
80 |
200 |
160 |
|
135 |
20 |
3 |
|
8-18 |
160 |
140 |
520 |
80 |
50 |
200 |
160 |
|
135 |
22 |
3 |
|
8-18 |
100 |
220 |
180 |
|
155 |
22 |
3 |
|
8-18 |
170 |
135 |
525 |
100 |
65 |
230 |
190 |
|
160 |
24 |
3 |
|
8-23 |
125 |
250 |
210 |
|
185 |
22 |
3 |
|
8-18 |
195 |
175 |
690 |
125 |
80 |
270 |
220 |
|
188 |
28 |
3 |
|
8-26 |
150 |
285 |
240 |
|
210 |
24 |
3 |
|
8-23 |
210 |
190 |
780 |
150 |
100 |
300 |
250 |
|
218 |
30 |
3 |
|
8-26 |
175 |
310 |
270 |
|
240 |
26 |
3 |
|
8-23 |
255 |
230 |
838 |
200 |
125 |
360 |
310 |
|
278 |
34 |
3 |
|
12-26 |
250 |
405 |
355 |
|
320 |
30 |
3 |
|
12-26 |
300 |
260 |
992 |
250 |
150 |
425 |
370 |
|
332 |
36 |
3 |
|
12-30 |
300 |
460 |
410 |
|
375 |
30 |
4 |
|
12-26 |
350 |
320 |
1266 |
300 |
220 |
485 |
430 |
|
390 |
40 |
4 |
|
16-30 |
400 |
580 |
525 |
|
485 |
36 |
4 |
|
16-30 |
370 |
350 |
1283 |
| A42Y-40C A42Y-40P A42Y-40R KA42Y-40C DA42Y-40(P) |
20 |
15 |
105 |
75 |
51 |
55 |
16 |
2 |
4 |
4-14 |
25 |
115 |
85 |
|
65 |
16 |
2 |
|
4-14 |
110 |
95 |
378 |
25 |
16 |
115 |
85 |
58 |
65 |
16 |
2 |
4 |
4-14 |
32 |
140 |
100 |
|
78 |
18 |
2 |
|
4-18 |
110 |
95 |
378 |
32 |
20 |
140 |
100 |
66 |
78 |
18 |
2 |
4 |
4-18 |
40 |
150 |
110 |
|
85 |
18 |
3 |
|
4-18 |
115 |
100 |
378 |
40 |
25 |
150 |
110 |
76 |
85 |
18 |
3 |
4 |
4-18 |
50 |
165 |
125 |
|
100 |
20 |
3 |
|
4-18 |
120 |
110 |
406 |
50 |
32 |
165 |
125 |
88 |
100 |
20 |
3 |
4 |
4-18 |
65 |
185 |
145 |
|
120 |
20 |
3 |
|
4-18 |
135 |
120 |
450 |
65 |
40 |
185 |
145 |
110 |
120 |
22 |
3 |
4 |
8-18 |
80 |
200 |
160 |
|
135 |
20 |
3 |
|
8-18 |
160 |
140 |
520 |
80 |
50 |
200 |
160 |
121 |
135 |
22 |
3 |
4 |
8-18 |
100 |
220 |
180 |
|
155 |
22 |
3 |
|
8-18 |
170 |
135 |
525 |
100 |
65 |
235 |
190 |
150 |
160 |
24 |
3 |
4.5 |
8-23 |
125 |
250 |
210 |
|
185 |
22 |
3 |
|
8-18 |
195 |
175 |
690 |
125 |
80 |
270 |
220 |
176 |
188 |
28 |
3 |
4.5 |
8-26 |
150 |
285 |
240 |
|
210 |
24 |
3 |
|
8-23 |
210 |
190 |
780 |
150 |
100 |
300 |
250 |
204 |
218 |
30 |
3 |
4.5 |
8-26 |
175 |
310 |
270 |
|
240 |
26 |
3 |
|
8-23 |
255 |
230 |
838 |
200 |
125 |
375 |
320 |
260 |
282 |
38 |
3 |
4.5 |
12-30 |
250 |
405 |
355 |
|
320 |
30 |
3 |
|
12-26 |
300 |
260 |
992 |
250 |
150 |
450 |
385 |
313 |
345 |
42 |
3 |
4.5 |
12-34 |
300 |
460 |
410 |
|
375 |
30 |
4 |
|
12-26 |
350 |
320 |
1266 |
A42Y-64
A42Y-64P
A42Y-64R
DA42Y-64(P) |
20 |
10 |
125 |
90 |
51 |
68 |
22 |
2 |
4 |
4-18 |
25 |
115 |
85 |
58 |
65 |
16 |
2 |
4 |
4-14 |
96 |
85 |
264 |
25 |
16 |
140 |
100 |
58 |
78 |
22 |
2 |
4 |
4-18 |
32 |
140 |
100 |
66 |
78 |
18 |
2 |
4 |
4-18 |
110 |
100 |
277 |
32 |
20 |
155 |
110 |
66 |
82 |
24 |
2 |
4 |
4-23 |
40 |
150 |
110 |
76 |
85 |
18 |
3 |
4 |
4-18 |
130 |
110 |
289 |
40 |
25 |
170 |
125 |
76 |
95 |
24 |
3 |
4 |
4-23 |
50 |
165 |
125 |
88 |
100 |
20 |
3 |
4 |
4-18 |
130 |
120 |
319 |
50 |
32 |
180 |
135 |
88 |
105 |
26 |
3 |
4 |
4-23 |
65 |
185 |
145 |
110 |
120 |
222 |
3 |
4 |
8-18 |
135 |
130 |
389 |
65 |
40 |
205 |
160 |
110 |
130 |
28 |
3 |
4 |
8-23 |
80 |
200 |
160 |
121 |
135 |
22 |
3 |
4 |
8-18 |
175 |
160 |
493 |
80 |
50 |
215 |
170 |
121 |
140 |
30 |
3 |
4 |
8-23 |
100 |
235 |
190 |
150 |
160 |
24 |
3 |
4.5 |
8-23 |
175 |
160 |
483 |
100 |
65 |
250 |
200 |
150 |
168 |
32 |
3 |
4.5 |
8-26 |
125 |
270 |
220 |
176 |
188 |
28 |
3 |
4.5 |
8-25 |
195 |
195 |
613 |
150 |
100 |
345 |
280 |
204 |
240 |
38 |
3 |
4.5 |
8-34 |
200 |
375 |
320 |
260 |
282 |
38 |
3 |
4.5 |
12-30 |
280 |
265 |
894 |
A42Y-100
A42Y-100P
A42Y-100R DA42Y-100(P) |
20 |
10 |
125 |
90 |
51 |
68 |
22 |
2 |
4 |
4-18 |
25 |
115 |
85 |
58 |
65 |
16 |
2 |
4 |
4-14 |
96 |
85 |
264 |
25 |
16 |
140 |
100 |
58 |
78 |
24 |
2 |
4 |
4-18 |
32 |
140 |
100 |
66 |
78 |
18 |
2 |
4 |
4-18 |
110 |
100 |
277 |
32 |
20 |
155 |
110 |
66 |
82 |
24 |
2 |
4 |
4-23 |
40 |
150 |
110 |
76 |
85 |
18 |
3 |
4 |
4-18 |
130 |
110 |
289 |
40 |
25 |
170 |
125 |
76 |
95 |
26 |
3 |
4 |
4-23 |
50 |
165 |
125 |
8 |
100 |
20 |
3 |
4 |
4-18 |
130 |
120 |
319 |
50 |
32 |
195 |
145 |
88 |
112 |
28 |
3 |
4 |
4-26 |
65 |
185 |
145 |
110 |
120 |
22 |
3 |
4 |
8-18 |
135 |
130 |
389 |
65 |
32 |
220 |
170 |
110 |
138 |
32 |
3 |
4 |
8-26 |
80 |
200 |
160 |
121 |
135 |
22 |
3 |
4 |
8-18 |
175 |
160 |
493 |
80 |
40 |
230 |
180 |
121 |
148 |
34 |
3 |
4 |
8-26 |
100 |
235 |
190 |
150 |
160 |
24 |
3 |
4.5 |
8-23 |
175 |
160 |
483 |
100 |
50 |
265 |
210 |
150 |
172 |
38 |
3 |
4.5 |
8-30 |
125 |
270 |
220 |
176 |
188 |
28 |
3 |
4.5 |
8-25 |
195 |
195 |
613 |
150 |
80 |
355 |
290 |
204 |
250 |
46 |
3 |
4.5 |
12-34 |
200 |
375 |
320 |
260 |
282 |
38 |
3 |
4.5 |
12-30 |
280 |
265 |
894 |
|
|
|
|